首页 -新闻资讯 -精益生产过程中价值流图的应用

新闻资讯

精益生产过程中价值流图的应用

发布时间:2021-11-09作者来源:科理咨询浏览:4115


企业实施精益生产,以消除所有不增加价值的浪费为目标,提高流程效率,降低生产综合成本。八十年代的丰田汽车公司、九十年代的戴尔公司以及其他一些企业的巨大成功,证实了精益思想在企业管理中的重要作用。


价值流图析技术作为一个有效的工具,可以通过做图的方法,帮助企业考虑整个产品价值流的流动,而不是只考虑孤立的过程,从而使企业能够对其整个价值流进行持续的、系统化的改进,提高企业的效益和在市场中的竞争能力。


图片   价值流图分析技术与方法

▼ 价值流 

所谓价值流,是当前产品通过其基本生产过程所要求的全部活动。这些活动包括给产品增加价值和不增加价值两部分,包括了从产品最基本的原材料阶段一直到产品交付顾客的全部过程,如一辆汽车的制造,包括了从顾客要求到概念设计、产品设计、样车制造、试验、定型、投产到交付后的使用、信息反馈和回收过程,会经历很多车间、工厂、公司,甚至可能经历过多个[敏感词]和地区。

 价值流图析技术 

价值流图析技术是帮助分析整个价值流的一个强有力的工具,它可以使整个价值流变为可视的一张价值流现状图,使得价值流中的问题显现出来,这样就可以应用各种精益技术将不增值的活动--即浪费消除。

从价值流的定义可以看出,价值流包括整个产品生命周期,地域范围可能包含若干个企业甚至[敏感词]和地区,所以做出产品的整个价值流的图析是极为复杂的工作,但分析价值流的基本方法是相同的。为了方便起见,这里我们主要讨论工厂内的价值流,见下图:


图片


 价值流图析技术 

在进行价值流图析之前,需要先来明确实施图析的主要步骤,如很多技术的实施一样,价值流图析也是一个过程,采用5W1H方法,即确定Why(为什么),Who(谁做),What(做什么),When(何时做),Where(在哪做),和How(如何做),前面我们已经说明了为什么做图析,其它步骤具体为以下六方面的事宜:

① Who——确定谁来做       

需要一位了解产品价值流而且能推进其改进的人,这个人具有领导职责(价值流经理),由他来领导一个小组进行价值流图析工作。


②What——确定做哪些产品的价值流图析      

通常我们首先按照80—20原则,对影响企业[敏感词]的产品进行图析。


③ When——确定何时做       

应在实施改进之前对价值流进行分析,以确定应首先改进哪些过程。


④Where——确定在哪里做       

毫无意义,在现场!只有在现场收集的数据才能真正反映价值流的状况。


⑤How——进行图析      

[敏感词]将以CAHC公司价值流图析为例,简单说明价值流图析的应用方法。


图片   价值流图分析实际应用

 选定产品系列 
表中所示为X公司2003年供货计划,根据80—20原则——影响大的产品或因素只占全部的20%,可以确定对公司影响较大的产品有8A和8B两种,他们均属于8系列产品,生产过程基本相同,所以确定图析该系列产品。
图片


 绘制价值流现状图 

价值流现状图的绘制应依据以下几个步骤进行:

图片


① 了解并记录顾客的要求      

上图中右上角顾客要求框所示,我们主要了解顾客的需求量、种类、交付频次和要求等。


② 了解并画出工厂内材料流图       

上图中下部的线框所示,也是工厂内的基本生产过程,我们将能够连续进行的过程列入一个框内,无法连续的,在两框之间用库存三角分开。


③ 收集并记录每个生产过程的数据(数据框)        

在每个过程线框下记录主要数据包括生产节拍、换型时间、操作人数、有效工作时间、设备使用率、废品率等与过程改进有关的数据。注意,这些数据应是现场收集的,而不是某些资料记载的。


④ 了解库存情况       

小组应对所有库存(包括线上制品库存)进行盘点,然后记载库存三角[敏感词]。注意,是点数而非查帐!


⑤ 原材料采购和交付的情况       

如上图左上角所示,了解主要供应商的供货情况。


 了解记录的订货、生产计划、原材料订货过程的信息传递途径及信息,画出信息流      

如上图上部所示,表示出顾客订单、材料订单和生产信息传递途径和方法。


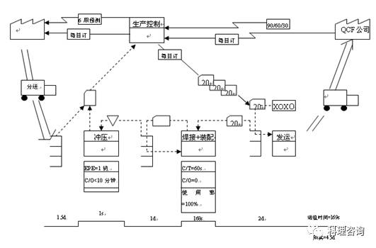
 画出生产时间线和计算相关数据      

将库存数量按照顾客需求节拍转化为时间,与生产过程时间数据一同画在时间线上,求出生产过程时间占整个时间的百分比。出的X公司完整价值流现状图下图1所示。

图片

图1  X公司的现状图

绘制价值流过程中,为了最简化描述整个价值流过程,我们会使用一些图形表示一定的含义,如上图所示中使用的图标,常用的图标简述如下:


图片
图片


图片
图片


图片   绘制未来价值流图

绘制价值流图析现状图的意义在于通过图析发现工厂生产过程中存在的浪费,从图1我们可以看出,188秒的生产时间占整个周期时间23.6天的1%都没有,大量的时间浪费在库存和等待上。通过分析原因,找出关键的浪费及其改进的方案并予以实施——即通过实施精益生产来消除产品价值流中的浪费。分析现状的目的在于解决价值流中的问题,而这些问题要在未来状态图的制定中通过实施精益价值流来予以解决。


 发现浪费 

确定什么是浪费,要根据精益思维的[敏感词]个基本原则——“从顾客的角度而不是从某个公司、部门或机构的角度确定价值”来确定的。精益生产把浪费分为两种:

① 不增加价值但目前生产、开发等系统要求存在;

② 不增加价值且可以立即消除。


 设计并实施精益的未来价值流准则 

我们画出价值流现状图的目的就是要使当前生产状况所存在的浪费用画图和计算的方式充分显现出来,找出原因,采取措施逐步完善。价值流图析未来状态图就是使得当前价值流变成精益的价值流。

那么,如何设计并实施精益的未来价值流呢?这里提供7个准则并作简单解释。


准则1:按顾客节拍生产

使得生产过程的节拍与交付顾客节拍保持一致,实现准时化生产。


准则2:尽可能地实现连续流动
尽量消除和减少库存和等待,这样生产过程就可以连续进行。


准则3:在无法实现连续流动的地方采用看板拉动管理
对于节拍相差悬殊,种类繁多的过程,如冲压和焊接这样的无法流动过程,采用看板管理。


准则4:努力使得顾客的订单只发到一个过程
保证信息的一致性。


准则5:在价值流启动过程按时间均匀分配多品种产品的生产
实现均衡生产。


准则6:在价值流启动过程通过启动一个单位的工作来实现初始拉动
这个拉动的“动力源”一定要来自顾客。


准则7:在价值流启动过程上游工序形成每天能够制造各种零件的能力
多品种、小批量的混流均衡生产,要求上游过程通过减少换型时间和生产批量来提高对下游过程变化的反应速度,这样可以尽可能的减小库存的在制品。


 研究现状、找出差异并绘制未来价值流图 

未来状态图是我们进行精益转化的目标蓝图。依照精益思维和精益价值流的准则来分析前面做出的现状图,使我们可以发现存在很多方面的浪费,以便我们去消除。分析研究现状图的关键步骤具体来讲分为8步(以X公司为例);


☉ 确定有效工作时间和顾客需求节拍
根据顾客需求量18400/月和有效工作时间27600秒/天,可出节拍应为60秒。


☉ 确定发运过程是采用顾客拉动还是建立一个成品发运仓库
根据公司实际情况,小组确定采用成品发运仓库。


☉ 确定使用连续流动的过程
将焊接、装配这些节拍相近的过程和为一个连续的过程(中间无库存)。


☉ 确定采用拉动系统的过程
将冲压和后续过程设计成为一个拉动系统,引入看板管理。


☉ 确定生产需求传送到价值流的哪一个过程,即价值流启动过程
确定发运过程为价值流启动过程。


☉ 确定如何在启动过程均衡生产
通过需求变化传递到整个过程来实现均衡生产。


☉ 确定价值流启动量
根据顾客发运的频次和发运方式,确定其动量为20件。


☉ 确定设计未来状态图时,为了实现精益价值流,必须改进的哪些过程
要实现上述方式,改进的过程有焊接和装配的整合、冲压与焊接过程的拉动系统、发运过程的拉动系统、信息传递过程的改进等……


完成以上分析工作后,也就可以画出价值流未来状态图。小组所绘未来状态图如下文图2所示。

图片

图2价值流未来状态图


图片   计划的制定、实施与效果评估

要改进的过程已基本确定,实现过程改进可分为三步:
① 将未来价值流划分成几个分价值流循环再考虑要实施哪些改进
② 制定实施计划
③ 评估计划实施的效果


图片   CAHC价值流图析的问题和注意事项

首先图析技术是发现价值流过程关键浪费及其根源的方法,以避免不必要的改进活动(这也是一种浪费),必须通过精益技术消除浪费,才能收到效果。


 图析准备:培训十分必要,可以避免方向性的错误。
☉ 产品选择:在考虑产量同时还应顾及产品产值、利润及其对公司生存与发展等方面的影响。
☉ 价值流现状图的绘制:一定要尽可能在较短的时间完成现状图数据的收集。


不仅在确定产品适应找出主要因素,在确定顾客要求、过程及其参数、供应商情况时同样要找出影响本公司的主要因素,避免影响图析的效果和后续改善的方向和目标。顾客需求节拍应根据实际供货的历史加以修正。


顾客拉动和成品仓库发货拉动两种方式实际上都是由顾客需求拉动的,关键区别在于是否建立成品库存。在实施精益生产初期,建议采用成品发运仓库的方式,这样能够保证准时交付顾客。随着精益生产实施的深入,可以逐步减少成品库存,最终转变成顾客拉动。


图片   价值流图析分析技术实施效果

很多企业实施精益生产都遇到过这样的问题,从那里开始做,对全部产品还是某一个;生产过程还是仓库;是单元生产还是一个流?在改进过程中也不可避免的会遇到但某个过程改进了之后,与整条线配合不起来了,导致“还不如不改”的想法。这些问题都是企业在实际生产过程中肯定会遇到的问题。


而价值流图析技术是避免这类问题的有效工具,他从企业整个价值流出发来分析哪些过程需要改进、如何改进和改进到何种状态,这也是本文介绍该技术的根本出发点。从CAHC公司价值流现状图和未来状态图的比较我们可以看出,通过描绘、分析现状所存在的问题,我们找到了改进点;通过未来状态图的绘制,我们确定了改进的目标,然后通过PDCA方法进行有效实施,达到改进的目的,提高企业的效率和竞争能力。


就效果而言,比较现状和未来状态,明显提高了生产的效率和灵活性,更大程度的满足了顾客的要求:

加工时间与生产周期的比例由188秒/23.6天变为169秒/4.5天,降低了生产时间和生产周期,通过生产周期的降低使得对顾客订单反应时间提高了5倍以上,这样可以大量减少库存,而库存量的减少则意味着流动资金、财务成本、产品损耗、仓库管理成本……的降低,也就意味着利润的提高,试想销售额提高5倍谈何容易,而通过改进就可以实现。


☉ 人员的减少焊接装配过程原需要4个作业人员,现在3个足矣。
☉ 避免盲目生产:生产信息由原来的多头信息改为由发运过程向前传递,避免由于不了解后道过程需求盲目生产带来的“过量生产”浪费,同时有效的满足顾客不断变化的要求。


由这些变化带来的研发、试验、生产、服务等方面的改进需求,使得所有改进都能够为提高企业竞争力起到作用,而不是表面文章,还有人的思维变化、顾客满意度的提高……


图片   价值流图分析技术的作用

成功实施价值流图析的企业业绩证明,有效实施价值流图析技术,可以:
☉ 消除50%以上的浪费过程/步骤;
☉ 产品形成周期较当前价值流状况减少1/3以上;
☉ 需求变化的幅度从30%左右降至5%左右;
☉ 质量水平得以提高,因为质量问题可以得到及时发现并予以解决;
☉ 由于实施小批量多品种,增加了运送的次数,这样物流成本会有所提高,但整个价值流的成本得到了大幅度的降低。

版权所有:科理咨询(深圳)股份有限公司 粤ICP备10082873号-1 | 服务热线:0755-26993418
想了解精益生产咨询公司,课程,培训,管理,方案,方法,内训请联系我们.